Categorías de Producto
nuevos productos
SRAM presentó una nueva patente en octubre de 2022 que detalla un nuevo dial trasero electrónico que puede cargarse mientras está en uso, sin siquiera necesitar una batería extraíble. El documento describe el uso de un generador que está acoplado a la transmisión del dial trasero y puede ser activado por la rotación de la rueda de regulación del dial trasero mientras se pedalea para cargar continuamente la batería.
Los sistemas de recolección de energía a bordo ciertamente reducirán las fallas de las baterías desmontables, y pueden convertirse en una nueva opción para los corredores de resistencia de ultra larga distancia en el futuro, para que no tengan que llevar baterías de respaldo. Sin embargo, es concebible que el mecanismo descrito provoque un aumento en la resistencia del tren motriz, perdiendo algo de energía cinética, lo que finalmente afectaría el rendimiento, ya que se captura de la rotación de la rueda guía superior durante el proceso de pisoteo y luego se convierte en energía eléctrica.
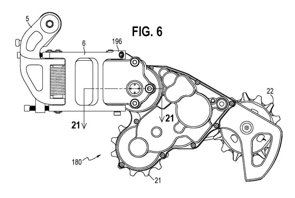
Sección de montaje (gris claro), embrague y motor de cambio (amarillo y verde), generador (azul oscuro), transmisión del generador (azul claro), botón de emparejamiento AXS (rojo) e indicador LED (pequeño punto verde)
Concepto de interruptor de cadena trasera de carga automática de SRAM
La patente (US 20220355900 A1) detalla una esfera trasera que incorpora un sistema de recolección de energía. Los párrafos anteriores mencionaban uno de los inconvenientes de los balancines de cadena electrónicos actuales: la incomodidad de recargar la batería y el riesgo inherente de quedarse sin energía en viajes largos. Los que tienen la suerte de tener una transmisión electrónica lo saben muy bien; Tal vez no porque se quedaron sin energía durante el viaje, sino porque se olvidaron de cargar la batería antes de su próximo viaje.
El nuevo dispositivo elimina este problema, lo que significa que su propietario ya no tiene que preocuparse por cargar la batería o preocuparse por la cantidad de energía que tiene.

Se requiere que el mecanismo principal acople el engranaje superior de la jaula giratoria (a través de 35 en la Figura 30) para impulsar el piñón para activar el generador. En el mecanismo, la patente describe el uso de engranajes rectos (339), piñones (338), correas y ruedas internas de correa (41) para activar la base del generador (46), indicando que la relación de transmisión óptima seleccionada es 33.75: 1. Así, por cada vuelta de la jaula de engranajes, el piñón del sistema generador gira 33,75 veces. Esto significa que el generador es más eficiente a altas velocidades.
En este caso, el paso del conductor en las entradas de manivela, en realidad, una cantidad muy pequeña de energía, para encender el generador. Por lo tanto, es razonable suponer que al cargar la batería en la transmisión trasera mientras pedaleas, pierdes solo un poco de tu preciada energía para el sistema generador. Es decir, imaginamos mucha menos pérdida que un juego de ruedas más grande de generadores de tambor de flores.

La patente también describe el uso de un embrague (290) dentro del sistema generador, que evita que los engranajes giren cuando el ciclista retrocede. Obviamente, no es tan común. Pero en algunas bicicletas de montaña con absorción total de impactos, debido al crecimiento de la cadena causado por el evento de retroceso del pedal, ocasionalmente sucederá en diversos grados.
La patente de 22 páginas detalla el uso de transistores, resistencias y capacitores. En parte, el generador es una forma de cargar la batería en la transmisión de cambio trasero para que, en teoría, nunca se quede sin energía durante el viaje. Esto podría cambiar las reglas del juego para los corredores de resistencia de ultra larga distancia, que no pueden arriesgarse a quedarse sin energía en sus sistemas de velocidad variable en una carrera de resistencia de larga distancia por temor a tener que correr más rápido antes de llegar al siguiente punto de reabastecimiento de combustible.
La figura 28 de la solicitud de patente de SRAM también revela un nuevo mecanismo de velocidad variable. En la palanca de cambios trasera SRAM AXS actual, el motor de transmisión y la batería están montados en la sección B trasera de la palanca de cambios trasera, entre el pivote trasero del varillaje de paralelogramo que regula el cambio. Aquí, en el nuevo concepto de transmisión trasera electrónica de carga automática, el motor de la transmisión trasera está montado en el conjunto de la jaula, que a su vez impulsa el piñón, el engranaje recto, el tornillo (81), la tuerca (91) y finalmente pasador de arrastre (97) para girar la biela exterior del paralelogramo (6) para realizar el cambio. Para nuestra sorpresa, muchos de los componentes importantes (y posiblemente costosos) se encuentran en la parte más vulnerable de la palanca de cambios de la cadena: la placa guía. Sin embargo, el documento de patente establece: " El sistema de motor y/o generador puede montarse y moverse con la placa de guía. Si se produce algún daño, la placa guía en su conjunto, incluido el sistema de motor y generador, se puede reemplazar rápida y fácilmente sin necesidad de reemplazar otras partes de la transmisión".
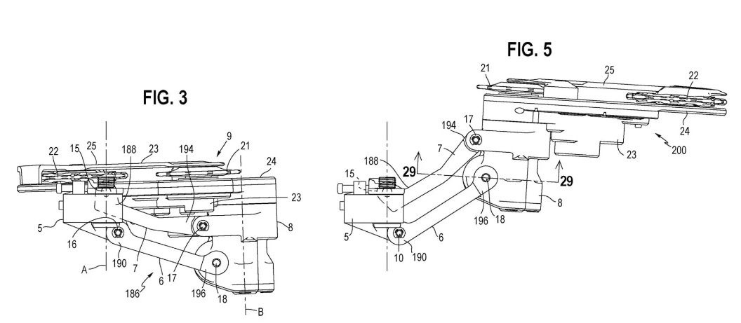
Cuando está en la relación de dientes pequeños/dientes grandes, el mecanismo más grande en la placa guía sobresale bastante, donde los tornillos de suspensión de la transmisión del disco trasero tocan su marco (menos de 15). Pero cuando cambia a una relación más fácil de engranaje/diente más grande, la transmisión de disco trasero parece estar escondida debajo de la horquilla inferior trasera, cerca del juego de ruedas.

La Figura 3 muestra que la transmisión de cambios traseros está colocada en los dientes más pequeños para dar servicio al volante de la tarjeta, mientras que la Figura 5 muestra que está colocada en los dientes más grandes, que es un modo de movimiento absolutamente incomparable pero está mejor alineado con la cadena de la bicicleta. Ángulo
Finalmente, se introduce una función de cambio automático. Los diodos y las resistencias en el sistema del generador se usan para detectar la velocidad del generador, que luego se puede usar para determinar la velocidad de la cadena a través de la rueda reguladora, determinando así la velocidad de la cadena. Esta información, junto con la información de otros sensores en la bicicleta, como los de las bielas y las ruedas traseras, se puede usar para realizar algoritmos de cambio automático que mantienen la relación de transmisión en una relación favorable para el ciclista.